Компания Apple в прошедший понедельник подала патентную заявку, в ней описывается метод объединения цельностеклянной структуры с инкапсуляцией внутренних схем в iOS-устройствах и более крупной электронике, такой как мониторы и телевизоры. Appleотмечает, что цельностеклянные конструкции могут быть достаточно тяжелыми, а особенно в том случае, если сделать несколько слоев для защиты от царапин, капель и других случайных повреждений. Но инженеры компании Apple нашли новый способ построения цельностеклянных устройств, сохраняя прочность, лёгкость и элегантный дизайн.
В патенте описывается, что вместо использования цельностеклянной конструкции компании Apple предлагает соединять куски стекла методом слияния. Углы плоских и периферийных стеклянных частей могут быть слиты воедино для формирования достаточно толстого куска материала, который может быть обработан до желаемой формы. Для примера показан плеер с закругленными краями и изогнутым дисплеем.
Внутри стеклянных конструкций используются опорные рёбра, чтобы снизить возможность деформации или поломки, а вокруг отверстий будут специальные конструкции из стекла. Вырезы в поверхности стекла могут служить отверстиями для кнопок и других физических элементов для управления устройством.
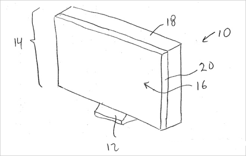
В некоторых примерах стеклянные компоненты слиты воедино для создания коробки с пятью сторонами, где могут быть вставлены схемы и другие внутренние компоненты. Это особенно важно для больших устройств, таких как мониторы или телевизоры, которые установлены на стендах.
Задняя сторона может быть тонированной, полупрозрачной или непрозрачной, чтобы скрыть внутри аккумуляторы, схемы и кабели. Несмотря на это, Apple рассматривает возможность сделать устройство полностью прозрачным. Стеклянные части вокруг дисплея могут быть шероховатыми, чтобы свет от дисплея не рассеивался.
После установки всех внутренних компонентов вставляется заглушка в отверстие для герметизации и защиты от любого рода загрязнений. Также в патенте описываются методы полировки и укрепления стекла.
Впервые данная патентная заявка была подана в 2013 году, а в качестве разработчиков указывались Питер Рассел-Кларк, Майкл К. Пилиод и старший вице-президент по дизайну Джонни Айв.














